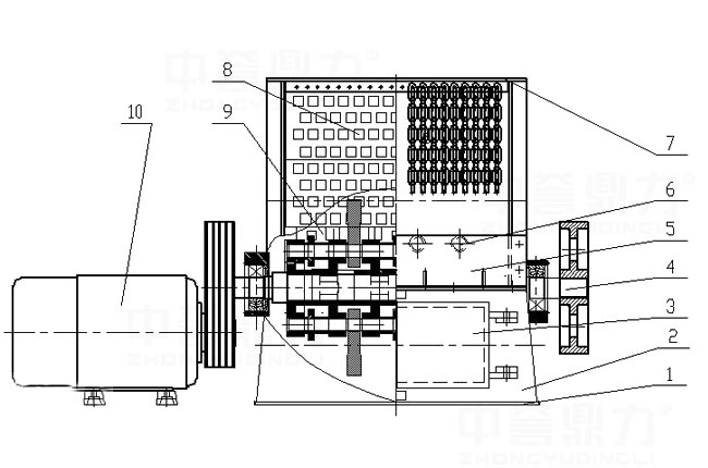
1214箱(xiāng)式破碎機內部圖片
通過1214箱式破碎機內部結構圖可知,箱破組成包括轉子、前麵、圓(yuán)鋼、上麵板部件、機篩網(wǎng)、底座下法蘭、底座前後板、門鋇、電(diàn)機。
該回答是否解決您的問題是否(fǒu)
溫馨提(tí)示:如果上述(shù)問題和您的(de)問題不同,可在線谘詢技術人員谘詢技術
還沒有符合您的答案?快速電話谘詢
谘詢電話:400-700-2111
提(tí)交問題,3分(fèn)鍾(zhōng)快(kuài)速(sù)解答








中譽鼎力張工擅長 選型 工藝配置(zhì)